产品目录
桃色在线视频
液体流量计
桃色成人在线视频
油流量计
桃色视频入口
椭圆齿轮流量计
电磁流量计
涡街流量计
蒸汽流量计
孔板流量计
旋进旋涡流量计
热式气体质量流量计
转子流量计
浮子流量计
靶式流量计
气体流量计
超声波流量计
磁翻板液位计
浮子液位计
浮球液位计
玻璃管液位计
雷达液位计
超声波液位计
投入式液位计
压力变送器
差压变送器
液位变送器
温度变送器
热电偶
热电阻
双金属温度计
推荐产品
联系桃色APP直播软件
- 金湖桃色APP直播软件仪表有限公司
- 联系电话:15195518515
- 在线客服:1464856260
- 电话:0517-86801009
- 传真号码:0517-86801007
- 邮箱:1464856260@qq.com
- 网址:http://www.hdl-enamel.com
- 地址:江苏省金湖县理士大道61号
自来桃色成人在线视频安装位置
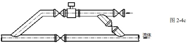
正确地选择安装位置和正确安装自来桃色成人在线视频都是非常重要的环节,若在安装环节失误,轻者影响测量精度,重者会影响自来桃色成人在线视频的使用寿命,甚至会损坏自来桃色成人在线视频。选择安装位置时应注意以下问题:
1.测量电*的轴线必须近似于水平方向(与水平线夹角一般为 10°以内)

2.测量管道内必须完全充满液体。
3.自来桃色成人在线视频的前方*少要有 5×D(D 为流量计内径)长度的直管段,后方*少要有 2×D(D为流量计内径)长度的直管段。

4.流体的流动方向和自来桃色成人在线视频的箭头方向一致。
5.管道内要有真空会损坏自来桃色成人在线视频的内衬,需特别注意。
6.在自来桃色成人在线视频附近应无强电磁场,仪表安装场所的磁场强度应小于 400A/m(避免安装在大型电机或变压器等设备附近)。
7.若测量管道有振动,在自来桃色成人在线视频的两边应有固定的支座。
8.测量不同介质的混合液时,混合点与自来桃色成人在线视频之间的距离*少要有 30×D(D 为流量计内径)。
9.为方便今后自来桃色成人在线视频的清洗和维护,应安装旁通管道。

10.安装聚四氟乙烯内衬的自来桃色成人在线视频时,连接两法兰的螺栓应注意均匀拧紧,否则容易压坏聚四氟乙烯内衬,*好用力矩扳手。
11.仪表应避免强烈振动和过大的温度变化,同时要防止腐蚀性液体的滴漏对仪表造成损害。
12.如果安装地点易受阳光曝晒,应当增加遮蔽设施。
13.安装传感器时,应保证测量管与工艺管道同轴。对 50mm 及以下公称通径的传感器,其轴线偏离不超过 2mm。DN65~DN150 其轴线偏离不超过 3mm,≥DN200 其轴线偏离不超过 4mm。
14.法兰之间加装的法兰垫圈,应有良好的耐腐蚀性能,该垫圈不得伸入管道内部。
15.紧固仪表螺栓、螺母,其螺纹应完整无损,润滑良好。应依据法兰尺寸、力矩大小采用力矩扳手紧固螺栓。
16.在传感器邻近管道进行焊接或火焰切割时,要采用隔离措施,防止衬里受热,且必须确认仪表未通电运行,防止损坏仪表。
相关资讯
- dn300自来桃色成人在线视频技术参数
- 小口径自来桃色成人在线视频规格型号
- 自来桃色成人在线视频的误差范围
- 自来桃色成人在线视频怎么查数据
- 自来桃色成人在线视频的功能
- 自来桃色成人在线视频的作用
- 自来桃色成人在线视频种类有哪些
- 影响自来桃色成人在线视频计量因素分析
- 自来桃色成人在线视频精度等级
- 自来桃色成人在线视频怎么读数
- 自来桃色成人在线视频规格型号
- 自来桃色成人在线视频数值突然增大原因分析与处理
- 自来桃色成人在线视频安装位置
- 自来桃色成人在线视频工作原理
- 自来桃色成人在线视频归零操作流程
- 自来桃色成人在线视频如何校验
- 自来桃色成人在线视频安装规范要求
- 自来桃色成人在线视频使用方法
- 自来桃色成人在线视频结构图
- 自来桃色成人在线视频如何归零
- 自来桃色成人在线视频怎么接线图解
- 自来桃色成人在线视频的技术参数
- 自来桃色成人在线视频的选型指南
- 自来桃色成人在线视频怎么调整
- 自来水管流量表,自来桃色成人在线视频量表
- dn100自来桃色成人在线视频,自来桃色成人在线视频价格
- 自来水管道电磁流量表,自来水计量表价格
- 自来桃色成人在线视频价格,自来水用桃色成人在线视频
- 管道自来桃色成人在线视频,测量自来桃色成人在线视频
- 自来水流量表,测自来水流量用哪种流量计

